Прожектор инфракрасный периметровый предназначен для освещения объектов в инфракрасном спектре в условиях недостаточной освещенности и в полной темноте. Применяются в составе систем видеонаблюдения, совместно с видеокамерами «день/ночь».
Прожектор Тахион ПИП-20/60 А имеет функции:
• включения/выключения от встроенного датчика освещённости;
• включения/выключения «по команде» реле сигнализации и т.п.;
• внешнего управления режимом «день/ночь» видеокамеры (при наличии у неё данной опции);
• «антифары» – задержка выключения на 1 минуту при засветке датчика освещённости прожектора фарами автомобиля.
ПИП-20/60 А имеет защиту от переполюсовки.
Выпускается по техническим условиям ТУ 26.30.50-077-31006686-2017.
Прожектор Тахион ПИП-20/60 А соответствует:
• техническим требованиям – ГОСТ Р 51558;
• требованиям безопасности – ГОСТ Р МЭК 60065;
• требованиям ЭМС – ГОСТ Р 50009, ГОСТ 30804.3.2, ГОСТ 30804.3.3;
• степени защиты от поражения электрическим током – III классу по ГОСТ 12.2.007.0;
• климатическому исполнению – УХЛ1, 5 по ГОСТ 15150;
• степени защиты – IP66/IP68 по ГОСТ 14254.
Характеристики:
• Дальность с ТВ камерой с чувств. 0,005 ЛК *: 20 м
• Предельная дальность с освещенностью 1 ЛК: 30 м
• Угол освещения: 60°
• Порог включения, лк: 10 ± 5
• Длина волны, нм: 850
• Напряжение питания: 12 ± 10 %**
• Мощность потребления:
– в режиме освещения: 6,5 / 9,5 (обогрев 3 Вт)
– в ждущем режиме: 0,25 / 3,25
• Порог включения/отключения: 10±5 ЛК
• Цветовая температура: 850 К
• Диапазон рабочих температур: -60°С ÷ +50°С
• Влажность воздуха при +25 °С, %: до 100
• Степень защиты IP66/IP68
• Длина кабеля питания/управления (4х0,5 мм²), м: 1
• Максимальная длина кабеля управления***(рис.), м, не более: 300
• Материал корпуса: сплав алюминиевый, покрытие – краска порошковая RAL9002****
• Режим работы: круглосуточный
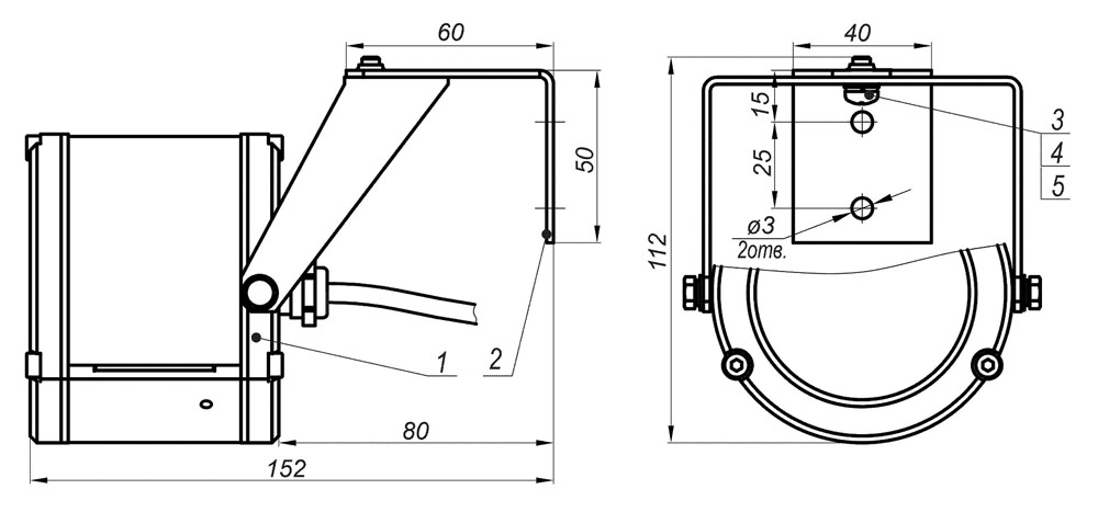
• Габаритные размеры, мм: 103х106х72
• Вес в упаковке: 1 кг
• Дополнительные аксессуары (приобретаются отдельно): Кронштейн КТ-220
* Под дальностью обнаружения человека понимается расстояние, на котором возможно определение наличия фигуры человека в поле зрения видеокамеры.
** Под заказ возможно изготовление ПИП-50/20 А, ПИП-25/45 А, ПИП-20/60 А с напряжением питания 24 В DC ± 10 % (комплект модификации 024, см. гарантийный талон).
*** Кабель UTP 2х0,22 в комплект поставки не входит.
**** Другой цвет покрытия по отдельной заявке.
Бренд | Тахион |
Исполнение | Уличное |
Угол излучения, ° | 60 |
Длина волны, нм | 850 |
Тип подсветки | ИК |
Дальность подсветки, м | 30 |
Напряжение питания | 12 В |
Потребляемая мощность, макс. | 9.5 Вт |
Габариты | Ø 90x72 мм |
Вес, кг | 1 |
Рабочая температура | от -60°С до +50°С |
Рабочая влажность | до 100% |
Класс защиты (IP) | IP68 |
Гарантия | 3 года |
Страна производства | Россия |
Функция «Быстрый заказ» позволяет покупателю не проходить всю процедуру оформления заказа самостоятельно. Вы заполняете форму, и через короткое время вам перезвонит менеджер магазина. Он уточнит все условия заказа, ответит на вопросы, касающиеся качества товара, его особенностей. А также подскажет о вариантах оплаты и доставки.
По результатам звонка, пользователь либо, получив уточнения, самостоятельно оформляет заказ, укомплектовав его необходимыми позициями, либо соглашается на оформление в том виде, в котором есть сейчас. Получает подтверждение на почту или на мобильный телефон и ждёт доставки.
Оформление заказа в стандартном режиме
Если вы уверены в выборе, то можете самостоятельно оформить заказ, заполнив по этапам всю форму.
Заполнение адреса
Выберите из списка название вашего региона и населённого пункта. Если вы не нашли свой населённый пункт в списке, выберите значение «Другое местоположение» и впишите название своего населённого пункта в графу «Город». Введите правильный индекс.
Доставка
В зависимости от места жительства вам предложат варианты доставки. Выберите любой удобный способ. Подробнее об условиях доставки читайте в разделе «Доставка».
Оплата
Выберите оптимальный способ оплаты. Подробнее о всех вариантах читайте в разделе «Оплата»
Покупатель
Введите данные о себе: ФИО, адрес доставки, номер телефона. В поле «Комментарии к заказу» введите сведения, которые могут пригодиться курьеру, например: подъезды в доме считаются справа налево.
Оформление заказа
Проверьте правильность ввода информации: позиции заказа, выбор местоположения, данные о покупателе. Нажмите кнопку «Оформить заказ».
Наш сервис запоминает данные о пользователе, информацию о заказе и в следующий раз предложит вам повторить к вводу данные предыдущего заказа. Если условия вам не подходят, выбирайте другие варианты.
Если Вы хотите узнать об условиях доставки и оплаты, но не желаете о них читать, то Вы можете позвонить любому нашему сотруднику, и он обязательно Вам поможет.
Покупка за безналичный расчет
При оплате за безналичный расчет наш сотрудник свяжется с Вами, чтобы подтвердить заказ и уточнить сроки и адрес доставки. После оформления заказа сотрудник нашей компании вышлет вам счет, по которому необходимо будет произвести оплату.
После оплаты заказа к Вам приедет наш курьер, который доставит ваш заказ.
Самостоятельно забрать заказ из пунктов самовывоза Вы можете после его оплаты по безналичному расчету. Оплата доставки до пунктов выдачи транспортных компаний производится по тарифам выбранной Вами транспортной компании непосредственно в месте получения заказа.
Самовывоз из офиса нашей компании в Зеленограде, так же возможен после предоплаты по безналичному расчету, и предварительной договоренности с менеджером.
Интернет-магазин выполняет доставку любого товара своей собственной Службой доставки.
Стоимость доставки курьером
Стоимость доставки по Москве, Все товары —750 руб., бесплатная доставка от 25000 руб
Стоимость доставки по Московской области рассчитывается для каждого заказа индивидуально и зависит от суммарного веса товаров заказа и удаленности адреса доставки.
Время доставки
Время доставки согласовывается с менеджером Службы доставки, который обязательно свяжется с вами сразу после того, как вы разместите свой заказ.
Для осуществления доставки в регионы России мы пользуемся услугами компаний СДЭК, ЖелДорЭкспедиция, Автотрейдинг, Деловые Линии. В таком случае, указанными кампаниями взимается стоимость доставки по их внутренним тарифам с заказчика при получении товара.
Самовывоз
Забрать товар самостоятельно и абсолютно бесплатно можно только по адресу: Москва, Зеленоград, Панфиловский проспект, дом 10.
Забрать товар самовывозом можно по любому из адресов самовывоза указанных здесь, стоимость доставки до пункта самовывоза рассчитывается для каждого заказа по тарифам транспортных компаний.

















