Сетевой видеорегистратор RVi-1NR10160C-8P предназначен для записи и отображения видеопотока с IP-камер видеонаблюдения в коммерческих и промышленных объектах. Устройство обеспечивает надежную многоканальную запись до десяти потоков одновременно и позволяет воспроизводить видеоархив с высоким разрешением. Интерфейс управления реализован через HDMI-выход для локального монитора и через веб-интерфейс при сетевом подключении, что упрощает настройку и эксплуатацию. Поддержка мобильного приложения RVi Connect позволяет контролировать видеопоток и просматривать архивы удаленно с любых мобильных устройств.
В основе работы регистратора лежат современные технологии видеокодирования H.264, которые обеспечивают эффективное сжатие и хранение данных. Поддержка PoE (802.3 af/at) позволяет подключать до восьми IP-камер напрямую, питая их по сетевому кабелю, что снижает затраты на прокладку дополнительной электрической проводки. Совместимость с протоколами ONVIF Profile S и Profile T гарантирует интеграцию с различными системами видеонаблюдения и обеспечение централизованного управления. Устройство обладает сетевыми возможностями через интерфейс 10Base-T/100Base-TX и поддерживает широкий спектр сетевых протоколов, включая TCP/IP, IPv4, IPv6, UDP, HTTP, DHCP, DDNS, UPnP, NTP и P2P.
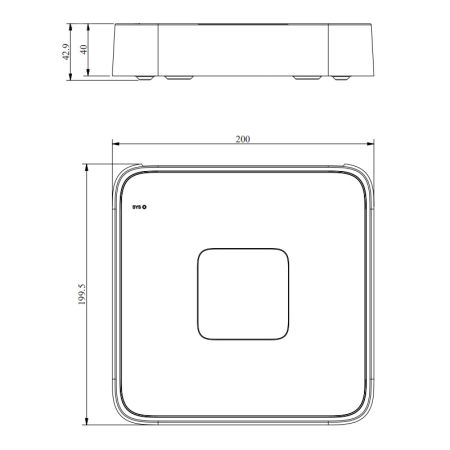
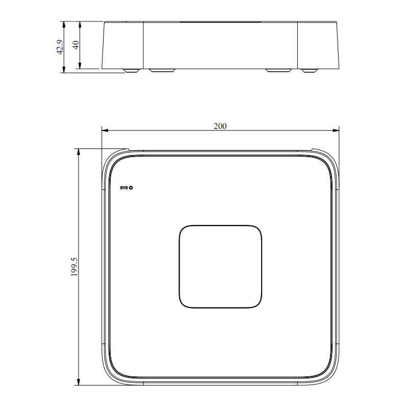
Максимальное разрешение записи до 6 Мп (3072×2048) на каждый из десяти каналов и входящий битрейт до 60 Мбит/с. Для хранения информации предусмотрен один SATA-разъем для HDD объемом до 8 ТБ, что позволяет организовать продолжительный архив. Видеорегистратор оснащен одним видеовыходом HDMI с разрешением FullHD (1920×1080) и двумя USB 2.0 портами для подключения периферии. Потребляемая мощность устройства составляет 90 Вт, диапазон рабочих температур от −10 до +55 °С, габариты корпуса – 200×42.9 мм, вес без жесткого диска – 450 г.
Особенности
- Поддержка до 10 IP-каналов для многоканального видеонаблюдения
- Максимальное разрешение записи 6 Мп (3072×2048) на канал
- Восемь PoE-портов (802.3 af/at) с общим бюджетом 70 Вт
- Встроенный веб-интерфейс для дистанционного управления и настройки
- Совместимость с ONVIF Profile S/T и SDK Tiandy для интеграции
- Поддержка мобильного приложения RVi Connect для удаленного просмотра
- Видеовыход HDMI FullHD (1920×1080) для локального мониторинга
- Возможность архивирования на внешний HDD до 8 ТБ
Поддерживается ПО RVi Connect T
RVi Connect T - программное обеспечение для работы с IP-видеорегистраторами и IP-видеокамерами RVi первой серии, которое позволяет подключить до 512 каналов видеонаблюдения, просматривать видеопоток в режиме реального времени, работать с архивом видеозаписей, обрабатывать события, управлять PTZ-устройствами и вести запись архива на ПК. Также поддерживается двунаправленная аудиосвязь и видеоаналитика с IP-видеокамер.ПО RVi Connect T оптимизировано для систем с различной производительностью и поддерживает как CPU-, так и GPU-декодирование, включая форматы H.264 и H.265. Программа доступна на русском языке, имеет светлую и тёмную темы интерфейса, а также возможности смарт-поиска, экспорта архива, ведения журнала событий и настройки прав доступа пользователей.
Мобильное приложение RVi Connect для удаленного управления
Мобильное приложение RVi Connect позволяет выполнять просмотр в реальном времени, проигрывать видеоархив, настраивать параметры устройства и выполнять удаленное подключение к устройству через P2P.Скачать RVi Connect можно здесь:
Преимущества
- Удобное PoE-подключение камер без прокладки отдельной электропроводки
- Высокое разрешение записи до 6 Мп для детализированного изображения
- Широкая совместимость с оборудованием благодаря поддержке ONVIF
- Надежность хранения данных с возможностью установки жесткого диска до 8 ТБ
- Удаленный доступ и управление через мобильное приложение и веб-интерфейс
- Эффективное сжатие видео с помощью кодека H.264 для оптимального использования дискового пространства
Недостатки
- Один слот для HDD без поддержки горячей замены
- Отсутствие аудиовхода и аудиовыхода для двусторонней связи
- Нет поддержки современных кодеков H.265, что может увеличить нагрузку на сеть
- Отсутствие тревожных входов/выходов для интеграции с внешними сигналами тревоги
Технические характеристики:
Производительность- Количество каналов: 10
- Максимальное разрешение записи на канал: 6 Мп (3072×2048)
- Максимальный входящий битрейт: 60 Мбит/с
- Максимальный исходящий битрейт: 40 Мбит/с
- Одновременный просмотр: 1 × 6 Мп, 1 × 5 Мп, 1 × 4 Мп, 1 × 3 Мп, 4 × 1080P, 8 × 720P
- Одновременное воспроизведение архива: 1 × 6 Мп, 1 × 5 Мп, 1 × 4 Мп, 1 × 3 Мп, 3 × 1080P, 4 × 720P
- Поддерживаемые видеокодеки: H.264
- Количество (HDD SATA): 1
- Максимальный объем (HDD SATA): 8 ТБ
- Сетевые протоколы: TCP/IP; IPv4; IPv6; UDP; HTTP; DHCP; DDNS; UPnP; NTP; P2P
- Безопасность: Фильтр по IP-адресам
- ИнтеграцияONVIF Profile S (клиент); ONVIF Profile T (клиент); SDK (Tiandy):
- 10Base-T/100Base-TX Ethernet: 1
- Мобильное приложение: RVi Connect
- Видеовыходы HDMI: 1
- Разрешение HDMI: FullHD (1920×1080)
- Порты PoE: 8 (PoE (802.3 af/at))
- Спецификация PoE: PoE (802.3 af/at)
- PoE бюджет: 70 Вт
- USB 2.0: 2
- Потребляемая мощность: 90 Вт(без учета HDD)
- Тип электропитания: DC 48 В
- Диапазон рабочих температур: -10...55 °С
- Габаритные размеры: 200(Ш) × 199.5(Г) × 42.9(В) мм
- Вес: 450 г(без учета HDD)
Бренд | RVi |
Тип видеорегистратора | NVR (для IP камер) |
Исполнение | Для помещений |
Исполнение корпуса | Настольное |
Максимальное количество камер | 10 |
Количество портов с PoE | Поддержка PoE, 8 |
Диски | 1 |
Максимальный общий объем жестких дисков | 8 Тб |
Емкость архива | 1 SATA HDD до 8Тб |
Максимальное разрешение записи | 3072x2048 (6 Мп) |
Скорость записи | до 60 Мбит/с |
Удалённый доступ | iOS, Android |
Разрешение видео | до 6 Мп |
Функционал видеорегистраторов | Нет |
Поддерживаемая видеоаналитика | Нет информации |
Стандарт ONVIF | Поддерживается, Profile S, Profile T |
Сетевой интерфейс | Ethernet 10/100M |
Кибербезопасность | HTTPS |
Дополнительные интерфейсы | USB |
Поддержка P2P | Да |
Видеокодек | H.264 |
Видеовыходы | HDMI |
Тревожные входы | Нет |
Тревожные выходы | Нет |
Напряжение питания | 48 В |
Источник питания видеорегистратора | Внешний адаптер (в комплекте) |
Потребляемая мощность, макс. | 90 Вт |
Потребляемый ток, макс. | 1.9 А |
Габариты | 200х199.5х42.9 мм |
Вес, кг | 0.45 |
Рабочая температура | от -10°C до +55°C |
Программное обеспечение в комплекте | Есть |
Гарантия | 3 года |
Страна производства | Россия |
Функция «Быстрый заказ» позволяет покупателю не проходить всю процедуру оформления заказа самостоятельно. Вы заполняете форму, и через короткое время вам перезвонит менеджер магазина. Он уточнит все условия заказа, ответит на вопросы, касающиеся качества товара, его особенностей. А также подскажет о вариантах оплаты и доставки.
По результатам звонка, пользователь либо, получив уточнения, самостоятельно оформляет заказ, укомплектовав его необходимыми позициями, либо соглашается на оформление в том виде, в котором есть сейчас. Получает подтверждение на почту или на мобильный телефон и ждёт доставки.
Оформление заказа в стандартном режиме
Если вы уверены в выборе, то можете самостоятельно оформить заказ, заполнив по этапам всю форму.
Заполнение адреса
Выберите из списка название вашего региона и населённого пункта. Если вы не нашли свой населённый пункт в списке, выберите значение «Другое местоположение» и впишите название своего населённого пункта в графу «Город». Введите правильный индекс.
Доставка
В зависимости от места жительства вам предложат варианты доставки. Выберите любой удобный способ. Подробнее об условиях доставки читайте в разделе «Доставка».
Оплата
Выберите оптимальный способ оплаты. Подробнее о всех вариантах читайте в разделе «Оплата»
Покупатель
Введите данные о себе: ФИО, адрес доставки, номер телефона. В поле «Комментарии к заказу» введите сведения, которые могут пригодиться курьеру, например: подъезды в доме считаются справа налево.
Оформление заказа
Проверьте правильность ввода информации: позиции заказа, выбор местоположения, данные о покупателе. Нажмите кнопку «Оформить заказ».
Наш сервис запоминает данные о пользователе, информацию о заказе и в следующий раз предложит вам повторить к вводу данные предыдущего заказа. Если условия вам не подходят, выбирайте другие варианты.
Если Вы хотите узнать об условиях доставки и оплаты, но не желаете о них читать, то Вы можете позвонить любому нашему сотруднику, и он обязательно Вам поможет.
Покупка за безналичный расчет
При оплате за безналичный расчет наш сотрудник свяжется с Вами, чтобы подтвердить заказ и уточнить сроки и адрес доставки. После оформления заказа сотрудник нашей компании вышлет вам счет, по которому необходимо будет произвести оплату.
После оплаты заказа к Вам приедет наш курьер, который доставит ваш заказ.
Самостоятельно забрать заказ из пунктов самовывоза Вы можете после его оплаты по безналичному расчету. Оплата доставки до пунктов выдачи транспортных компаний производится по тарифам выбранной Вами транспортной компании непосредственно в месте получения заказа.
Самовывоз из офиса нашей компании в Зеленограде, так же возможен после предоплаты по безналичному расчету, и предварительной договоренности с менеджером.
Интернет-магазин выполняет доставку любого товара своей собственной Службой доставки.
Стоимость доставки курьером
Стоимость доставки по Москве, Все товары —750 руб., бесплатная доставка от 25000 руб
Стоимость доставки по Московской области рассчитывается для каждого заказа индивидуально и зависит от суммарного веса товаров заказа и удаленности адреса доставки.
Время доставки
Время доставки согласовывается с менеджером Службы доставки, который обязательно свяжется с вами сразу после того, как вы разместите свой заказ.
Для осуществления доставки в регионы России мы пользуемся услугами компаний СДЭК, ЖелДорЭкспедиция, Автотрейдинг, Деловые Линии. В таком случае, указанными кампаниями взимается стоимость доставки по их внутренним тарифам с заказчика при получении товара.
Самовывоз
Забрать товар самостоятельно и абсолютно бесплатно можно только по адресу: Москва, Зеленоград, Панфиловский проспект, дом 10.
Забрать товар самовывозом можно по любому из адресов самовывоза указанных здесь, стоимость доставки до пункта самовывоза рассчитывается для каждого заказа по тарифам транспортных компаний.
HD-TVI это не просто хороший способ апгрейдить старую аналоговую систему видеонаблюдения, но и получить не дорогую новую. Единственное, что стоит учитывать, это то что оборудование идет от бренда HikVison, который обладает рядом специфических особенностей. Обо всем этом и не только, самый большой в рунете обзор формата, в котором самым подробным образом разбираем все нюансы практического использования.








