Кабель-канал ККП 3-12 - формовое изделие из резины. Сверху - откидывающаяся крышка из эластичного пластика. На концах предусмотрены соединители типа "пазл". Необходимая длина кабель-канала набирается путем соединения нужного количества элементов.
Укладывается на асфальт или на пол. Элементы соединяются между собой с помощью соединения типа "пазл". Конструкция устойчива за счет своей массы. При необходимости можно применить анкерное крепление.
Преимущества и технологии
• удобство эксплуатации
• простейший монтаж
• аккуратный внешний вид
• хорошая видимость
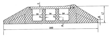
Характеристики
• Корпус: Черная резина
• Крышка: Эластичный желтый пластик
• Кол-во каналов: 3
• Нагрузка: 12 т
• Сечение канала: d 30
• Размеры: 900х300х45 мм
• Температура эксплуатации: -50С до +60С
Кабель-канал предназначен для обеспечения защиты шлангов, электрических проводов, шнуров и кабелей в местах с высоким риском их механических повреждений. Наиболее востребована защита кабеля напольная в местах движения транспортных средств и скопления людей:
• культурно-массовые и спортивные мероприятия;
• заводы;
• стройплощадки и другие объекты, где необходима временная прокладка электрокабеля;
• концерты, выставки и конференции.
Напольный кабель-канал представляет собой поддон с желобами для укладки проводки и защитный корпус. Мы изготавливаем элементы кабельного трапа из высококачественной резины или полиуретана с повышенными характеристиками прочности, устойчивой к внешним воздействиям различного происхождения. Кроме того, конструкция кабельного моста напоминает искусственную дорожную неровность с плавными подъемами по бокам для заезда транспортных средств, что также способствует увеличению срока службы изделия.
Кабель-каналы – преимущества:
Безопасность
Кабельный мост обеспечивает защиту высоковольтных проводов и кабелей от повреждений, вероятность появления которых несет опасность для здоровья и жизни людей, а также возможность порчи имущества и оборудования. Продуманная конструкция изделия сводит риск механических повреждений электропроводки к нулю.
Надежность
Материалы, из которых мы производим кабельный трап, характеризуются высокой прочностью, износостойкостью, устойчивостью к воздействию окружающей среды (перепады температур, атмосферные осадки) и к деформации (их ось способна выдерживать нагрузку до 40 тонн).
Быстрота и легкость монтажа
Сборка и установка кабельной капы не требует предварительной подготовки и особых навыков. Отдельные элементы изделия легко и надежно соединяются между собой. Провода укладывают в пазы, и поддон закрывается крышкой. Обход углов, внешних и внутренних, выполняется посредством специальных уголков. Для более длительного использования кабель-канала его следует надежно закрепить на поверхности с помощью анкерных болтов.
Привлекательный дизайн
Контрастное сочетание черного корпуса и яркой желтой или оранжевой крышки сделает защиту кабеля хорошо заметной издалека.
Бренд | Технология |
Вид оборудования | Кабель-канал |
Габариты | 900х300х45 мм |
Вес, кг | 6.6 |
Рабочая температура | от -50°C до +60°C |
Страна производства | Россия |
Функция «Быстрый заказ» позволяет покупателю не проходить всю процедуру оформления заказа самостоятельно. Вы заполняете форму, и через короткое время вам перезвонит менеджер магазина. Он уточнит все условия заказа, ответит на вопросы, касающиеся качества товара, его особенностей. А также подскажет о вариантах оплаты и доставки.
По результатам звонка, пользователь либо, получив уточнения, самостоятельно оформляет заказ, укомплектовав его необходимыми позициями, либо соглашается на оформление в том виде, в котором есть сейчас. Получает подтверждение на почту или на мобильный телефон и ждёт доставки.
Оформление заказа в стандартном режиме
Если вы уверены в выборе, то можете самостоятельно оформить заказ, заполнив по этапам всю форму.
Заполнение адреса
Выберите из списка название вашего региона и населённого пункта. Если вы не нашли свой населённый пункт в списке, выберите значение «Другое местоположение» и впишите название своего населённого пункта в графу «Город». Введите правильный индекс.
Доставка
В зависимости от места жительства вам предложат варианты доставки. Выберите любой удобный способ. Подробнее об условиях доставки читайте в разделе «Доставка».
Оплата
Выберите оптимальный способ оплаты. Подробнее о всех вариантах читайте в разделе «Оплата»
Покупатель
Введите данные о себе: ФИО, адрес доставки, номер телефона. В поле «Комментарии к заказу» введите сведения, которые могут пригодиться курьеру, например: подъезды в доме считаются справа налево.
Оформление заказа
Проверьте правильность ввода информации: позиции заказа, выбор местоположения, данные о покупателе. Нажмите кнопку «Оформить заказ».
Наш сервис запоминает данные о пользователе, информацию о заказе и в следующий раз предложит вам повторить к вводу данные предыдущего заказа. Если условия вам не подходят, выбирайте другие варианты.
Если Вы хотите узнать об условиях доставки и оплаты, но не желаете о них читать, то Вы можете позвонить любому нашему сотруднику, и он обязательно Вам поможет.
Покупка за безналичный расчет
При оплате за безналичный расчет наш сотрудник свяжется с Вами, чтобы подтвердить заказ и уточнить сроки и адрес доставки. После оформления заказа сотрудник нашей компании вышлет вам счет, по которому необходимо будет произвести оплату.
После оплаты заказа к Вам приедет наш курьер, который доставит ваш заказ.
Самостоятельно забрать заказ из пунктов самовывоза Вы можете после его оплаты по безналичному расчету. Оплата доставки до пунктов выдачи транспортных компаний производится по тарифам выбранной Вами транспортной компании непосредственно в месте получения заказа.
Самовывоз из офиса нашей компании в Зеленограде, так же возможен после предоплаты по безналичному расчету, и предварительной договоренности с менеджером.
Интернет-магазин выполняет доставку любого товара своей собственной Службой доставки.
Стоимость доставки курьером
Стоимость доставки по Москве, Все товары —750 руб., бесплатная доставка от 25000 руб
Стоимость доставки по Московской области рассчитывается для каждого заказа индивидуально и зависит от суммарного веса товаров заказа и удаленности адреса доставки.
Время доставки
Время доставки согласовывается с менеджером Службы доставки, который обязательно свяжется с вами сразу после того, как вы разместите свой заказ.
Для осуществления доставки в регионы России мы пользуемся услугами компаний СДЭК, ЖелДорЭкспедиция, Автотрейдинг, Деловые Линии. В таком случае, указанными кампаниями взимается стоимость доставки по их внутренним тарифам с заказчика при получении товара.
Самовывоз
Забрать товар самостоятельно и абсолютно бесплатно можно только по адресу: Москва, Зеленоград, Панфиловский проспект, дом 10.
Забрать товар самовывозом можно по любому из адресов самовывоза указанных здесь, стоимость доставки до пункта самовывоза рассчитывается для каждого заказа по тарифам транспортных компаний.















