Турникет-трипод серии ТРТ-11-03-01 является управляемым преграждающим устройством с частичным перекрытием зоны прохода. Широко используются для установки на проходных предприятий, военных организаций, специальных объектах, стадионах, вокзалах и др. По устойчивости к разрушающим воздействиям турникет соответствует группе нормальной устойчивости, которая обеспечивается механической прочностью конструкции.
Пропускная способность турникета, обеспечивающая быстрый, удобный и безопасный пропуск людей, не превышает 2000 проходов в день, что соответствует численности персонала 500 человек. Если число сотрудников, работающих на предприятии, превышает нагрузочную способность турникета, необходимо оборудовать проходные несколькими турникетами.
Турникет является электробезопасным устройством – на его стойку подается напряжение питания, не превышающее 12В постоянного тока. Предназначен для эксплуатации в закрытых отапливаемых или охлаждаемых помещениях при следующих условиях: температура окружающей среды – от +1 С до +45 С при относительной влажности воздуха не более 70%. Управления турникета происходит с помощью пульта управления, обеспечивающего пропуск в любом из двух направлений или полную блокировку турникета.
По условиям применения электромеханические турникеты соответствуют группе УХЛ4.2 по ГОСТ 15150-69.
Комплект поставки:
• Стойка турникета: 1 шт.
• Преграждающие планки нержавеющая сталь ("антипаника"): 3 шт.
• Пульт управления: 1 шт.
• Ключ разблокировки: 1 шт.
• Паспорт: 1 шт.
• Инструкция по установке: 1 шт.
В комплект поставки не входят и приобретаются отдельно:
• Блок питания
• Анкера
Особенности турникета:
• Управление от пульта управления.
• Светодиодные индикаторы: красный, зеленый.
• Безопасное для человека напряжение электропитания.
• Низкое энергопотребление.
• Возможность механической разблокировки ключом в экстренных ситуациях
• Центральная стойка со съемной лицевой панелью для размещения доп. оборудования
• Плавность работы механизма обеспечивает гидравлический демпфер
Варианты исполнения:
P – крашеный, цвет - серебряный антик;
G – шлифованная нержавеющая сталь;
М – зеркальная нержавеющая сталь;
S – уличное исполнение.
Турникет может поставляться со стандартными планками или с планками "антипаника" (цены отличаются).
Технические характеристики:
• Напряжение питания (переменного тока): 12 В
• Габаритные размеры стойки (длина х ширина х высота) мм: 250 х 985 х 840
• Ширина перекрываемой зоны мм: 900
• Ширина прохода: 600
• Пропускная способность в режиме однократного прохода: 30 чел/мин
• Пропускная способность в режиме свободного прохода: 60 чел/мин
• Средний срок службы: Не менее 5 лет
• Рабочий температурный диапазон: От +1°C до +40°C
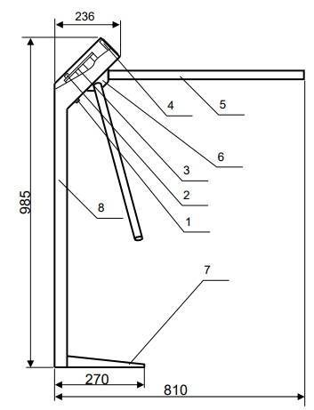
Основные элементы турникета-трипода серии ТРТ-11-03
1. Замок механической разблокировки
2. Механизм электромеханической фиксации
3. Клемный разъем
4. Верхняя крышка с светодиодными указателями
5. Преграждающие планки
6. Поворотный механизм для крепления преграждающихпланок
7. Основание стойки
8. Стойка турникета


Бренд турникета | AR-GO |
Вид турникета | Турникет |
Тип турникета | Трипод |
Тип корпуса турникета | Однопроходной, Напольный |
Тип привода турникета | Электромеханический |
Исполнение турникета | Для помещений |
Материал корпуса турникета | Окрашенная сталь |
Преграждающие планки/створки | Антипаника, в комплекте |
Антипаника | Механическая |
Тип блокировки | Нормально закрытый (НЗ) |
Встроенный картоприемник | Нет |
Встроенные считыватели | Без считывателей |
Пропускная способность | 20 чел/мин |
Пульт управления | 1 шт. в комплекте |
Напряжение питания | 12 В |
Потребляемый ток, макс. | 2 А |
Габариты | 250х985х840 мм |
Ширина перекрываемого прохода | 900 мм |
Ширина прохода | 600 мм |
Вес, кг | 25 |
Рабочая температура | от +1°C до +40°C |
Рабочая влажность | не выше 70% |
Средний срок службы | Не менее 5 лет |
Гарантия | 2 года |
Страна производства | Россия |
Функция «Быстрый заказ» позволяет покупателю не проходить всю процедуру оформления заказа самостоятельно. Вы заполняете форму, и через короткое время вам перезвонит менеджер магазина. Он уточнит все условия заказа, ответит на вопросы, касающиеся качества товара, его особенностей. А также подскажет о вариантах оплаты и доставки.
По результатам звонка, пользователь либо, получив уточнения, самостоятельно оформляет заказ, укомплектовав его необходимыми позициями, либо соглашается на оформление в том виде, в котором есть сейчас. Получает подтверждение на почту или на мобильный телефон и ждёт доставки.
Оформление заказа в стандартном режиме
Если вы уверены в выборе, то можете самостоятельно оформить заказ, заполнив по этапам всю форму.
Заполнение адреса
Выберите из списка название вашего региона и населённого пункта. Если вы не нашли свой населённый пункт в списке, выберите значение «Другое местоположение» и впишите название своего населённого пункта в графу «Город». Введите правильный индекс.
Доставка
В зависимости от места жительства вам предложат варианты доставки. Выберите любой удобный способ. Подробнее об условиях доставки читайте в разделе «Доставка».
Оплата
Выберите оптимальный способ оплаты. Подробнее о всех вариантах читайте в разделе «Оплата»
Покупатель
Введите данные о себе: ФИО, адрес доставки, номер телефона. В поле «Комментарии к заказу» введите сведения, которые могут пригодиться курьеру, например: подъезды в доме считаются справа налево.
Оформление заказа
Проверьте правильность ввода информации: позиции заказа, выбор местоположения, данные о покупателе. Нажмите кнопку «Оформить заказ».
Наш сервис запоминает данные о пользователе, информацию о заказе и в следующий раз предложит вам повторить к вводу данные предыдущего заказа. Если условия вам не подходят, выбирайте другие варианты.
Если Вы хотите узнать об условиях доставки и оплаты, но не желаете о них читать, то Вы можете позвонить любому нашему сотруднику, и он обязательно Вам поможет.
Покупка за безналичный расчет
При оплате за безналичный расчет наш сотрудник свяжется с Вами, чтобы подтвердить заказ и уточнить сроки и адрес доставки. После оформления заказа сотрудник нашей компании вышлет вам счет, по которому необходимо будет произвести оплату.
После оплаты заказа к Вам приедет наш курьер, который доставит ваш заказ.
Самостоятельно забрать заказ из пунктов самовывоза Вы можете после его оплаты по безналичному расчету. Оплата доставки до пунктов выдачи транспортных компаний производится по тарифам выбранной Вами транспортной компании непосредственно в месте получения заказа.
Самовывоз из офиса нашей компании в Зеленограде, так же возможен после предоплаты по безналичному расчету, и предварительной договоренности с менеджером.
Интернет-магазин выполняет доставку любого товара своей собственной Службой доставки.
Стоимость доставки курьером
Стоимость доставки по Москве, Все товары —750 руб., бесплатная доставка от 25000 руб
Стоимость доставки по Московской области рассчитывается для каждого заказа индивидуально и зависит от суммарного веса товаров заказа и удаленности адреса доставки.
Время доставки
Время доставки согласовывается с менеджером Службы доставки, который обязательно свяжется с вами сразу после того, как вы разместите свой заказ.
Для осуществления доставки в регионы России мы пользуемся услугами компаний СДЭК, ЖелДорЭкспедиция, Автотрейдинг, Деловые Линии. В таком случае, указанными кампаниями взимается стоимость доставки по их внутренним тарифам с заказчика при получении товара.
Самовывоз
Забрать товар самостоятельно и абсолютно бесплатно можно только по адресу: Москва, Зеленоград, Панфиловский проспект, дом 10.
Забрать товар самовывозом можно по любому из адресов самовывоза указанных здесь, стоимость доставки до пункта самовывоза рассчитывается для каждого заказа по тарифам транспортных компаний.


